转子发动机再度复活?马自达借其发展增程器
发布者:admin
发表日期:2019/4/17 10:49:48
浏览:
关于马自达,一直有这么种俏皮话——
“它挣钱就是为了搞转子发动机,等转子发动机把马自达家业败得差不多了,马自达又会老实下来搞常规汽车,如此反复。”
最近,马自达又打起了转子发动机的主意……
8月31日,马自达在日本注册了一项专利,试图利用结构紧凑的转子发动机作为电动汽车的增程器,并节省一定空间。在经过20天的等待之后,日本专利局通过并公布了这一专利。
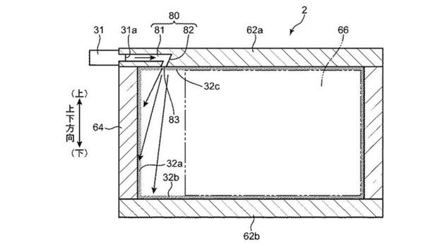
在马自达看来,结构紧凑的转子发动机拿来做增程器实在再完美不过了。为了更好地利用车内空间,马自达希望将转子增程器水平安装在后面的后备厢地板下(图中的序号2和3)。为了照顾转子发动机的烧机油特性,马自达的工程师们还专门为其设计了润滑油喷油嘴的位置。
如图,工程师们为喷油嘴创建了一个有角度的l形通道(图中的31、31a、80、81和82)。从这里位置开始,润滑液沿对角线向下喷射(图88),进而被转子带走,覆盖整个燃烧室内壁(图中的64)。
马自达表示,把喷油器放在燃烧室顶部、让它向下喷射的方案也行得通,但是显然,这种方案会进一步占用行李厢空间,因此没有得到应用。
早在2018年3月,马自达欧洲分部的销售和客户服务副总裁Martijn ten Brink就曾公开表示。








